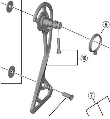
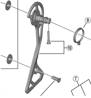
Shimano Ultegra RD-R8000 Outer Plate & Fixing Bolt - GS Cage - 3E9 9808
Low stock
Couldn't load pickup availability
This outer plate and fixing bolt can only be used with Shimano Ultegra RD-R8000 11 speed derailleurs - Medium cage (GS).
This is a genuine Shimano replacement part.


